Красноярск +7 (391) 256-03-74, 256-04-23 Заказать звонок
Адрес: ул.Телевизорная, 4
Время работы: ПН-ПТ 9-18, СБ, ВС - выходной
Войти Регистрация
Корзина0 позиций
на сумму 0 руб.

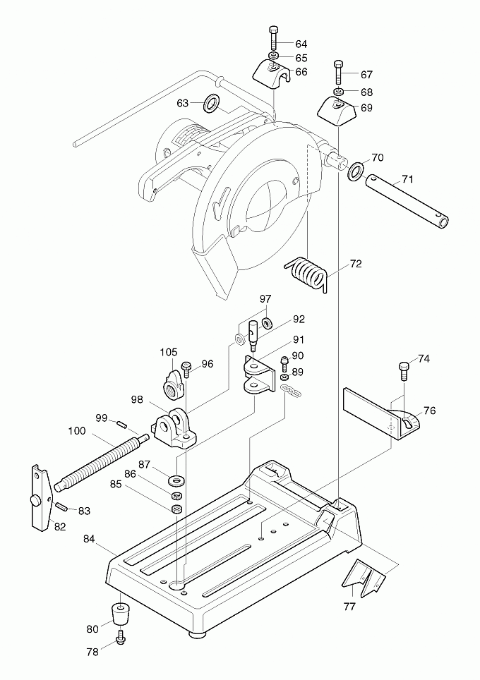
2412N

Артикул
Наименование
Кол.
63
253751-6
Плоская шайба 24
1
64
251683-1
Болт с шестигранной гол. M8X40
1
65
942201-3
Шайба Гровера 8 к 2412N/2414B/
1
66
345141-8
Крышка трубки (Л) 2412N/2414/K
1
67
251683-1
Болт с шестигранной гол. M8X40
1
68
942201-3
Шайба Гровера 8 к 2412N/2414B/
1
69
345142-6
Крышка трубки (П) 2412N/2414/K
1
70
253751-6
Плоская шайба 24
1
71
331087-4
Трубка 24 для 2412N/2414/2414К
1
72
231526-3
Торсионная пружина 26
1
74
265201-9
Болт с шестигранной гол.M10X25
2
76
345145-0
Направляющая пластина
1
77
345147-6
Направляющая выхода стружки
1
78
911349-2
Винт M6X28
3
80
421277-8
Опора к 2412N/2414/2414K
3
82
272021-4
Рукоятка 120 для 2412NB/2414/(new)
1
82
272014-1
Рукоятка 130(верс1)
1
83
951163-4
Пружинный штифт 5-20 к 2412N/(new)
1
83
951169-2
Пружинный штифт 5-28 2412N/
1
84
132385-7
основание в сборе 2412N/2414K
1
85
931402-8
Шестигранная гайка M8 HR5001C/
1
86
942201-3
Шайба Гровера 8 к 2412N/2414B/
1
87
253752-4
Плоская шайба 8
1
89
253011-6
Плоская шайба 6
1
90
911316-7
Винт M6X14
1
91
343546-6
Зажимная пластина 2412N/2414K(new)
1
91
342495-4
Зажимная пластина 2412N/2414(верс1)
1
92
265922-3
Винт M8 для 2412N/2414/2414K(new)
1
92
251679-2
Болт с шестигранной головкойM8(верс1)
1
96
911451-1
Винт M8X30 к LC1230/2414B/
2
97
253731-2
Плоская шайба 8(new)
1
97
253744-3
Плоская шайба 12
1
98
311949-2
Направляющая винта для 2414NB/(new)
1
98
311830-7
Направляющая винта(верс2)
1
98
311402-8
Зажимная гайка 2412N/2414(верс1)
1
99
951066-2
Пружинный штифт 3-18 к 2412N/(new)
1
99
951116-3
Пружинный штифт 4-20 2412N/(верс1)
1
100
322239-8
Зажимной винт для 2412N/2414/(new)
1
100
323689-0
Зажимной винт 2412N/2414(верс1)
1
105
322209-7
Зажимная гайка к 2412N/2414B/
1
88
232047-8
Плоская пружина
1
93
342497-0
деталь
1
94
253731-2
Плоская шайба 8(new)
1
94
253052-2
Плоская шайба 12(верс1)
1
95
342496-2
Соединитель для 2412N/2414
1
101
961012-7
Стопорное кольцо E-6 к BLS820/
1
102
271607-1
Ручка-регулятор 20 2412N/2414
1
103
256614-5
Шпилька 8
1
106
819064-1
Этикетка с эмблемой Макита M
1
400
782210-8
Торцовый ключ 17
1
401
792186-1
CUT-OFF WHEEL 305-NO.10
1
500
134548-1
Зажим в сборе для 2412N/2414K
1


Войти Регистрация
Корзина0 позиций на сумму 0 руб.